| |
|
|
| |
|
| |
|
|
| |
|
| |
|
|
| |
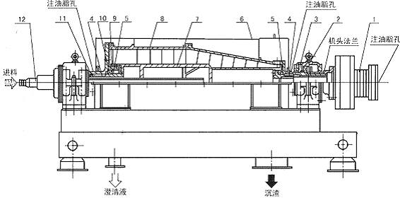
| The centrifugal machine model LW is a kind of
centrifugal machine which separates the floating liquid by way
of sinking of the centrifugal machine and unloads the material
by screw. With the full speed, he machine can continuously input
the material, separate and unloading the material, it can be
used for solid-liquid separation, classification of particles,
clean of liquid for floating liquid whose solid-phase density
is 2-40%(the fineness of particles is 0.005-2mm).It has the
advantages of continuous operation, large treatment capacity,
small unit power consumption, tight construction, convenience
of maintenance and repair, etc. It is particularly suitable
for separation of floating liquid whose regeneration of filter
cloth is difficult and the changing series for density and fineness
of particles are quite large. The machine corresponds to GMP
series design. |
 |
|
|
|
|
| |
 |
|
| |
|
| |
|
|
| |
|
|
| |
|
|
| |
|
| |
|
|
| |
|
|
| |
|
|
| |
|
| |
|
|
| |
|
Type |
A1 |
A2 |
A3 |
A4 |
A5 |
A6 |
A7 |
B1 |
B2 |
B3 |
B4 |
B5 |
B6 |
§æ |
|
LW380 ¡Á618 |
1800 |
320 |
217.5 |
531 |
1068 |
222 |
240 |
385 |
452 |
660 |
500 |
410 |
1320 |
3" |
|
LW380 ¡Á886 |
2140 |
300 |
260 |
790 |
1520 |
220 |
240 |
436 |
520 |
840 |
470 |
550 |
1440 |
90 |
|
LW380 ¡Á1140 |
2440 |
340 |
240 |
1070 |
1760 |
230 |
240 |
520 |
560 |
910 |
445 |
500 |
1440 |
90 |
|
|
| |
|
|
| |
|
| |
Use
Name and property of materials to be separated
Separation requirements
Requirements of the material that is touched by centrifuge
Other requirements
|
|
| |
|
|