| |
|
|
| |
|
| |
|
|
| |
|
| |
|
|
| |
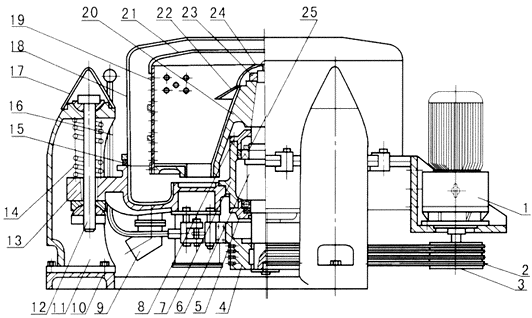
| This is filter type centrifugal machine with manual
bottom upper unloading, discontinuous operation. It is applicable
to the separation of floating liquid which contains 5-60% solid phase(particle,
crystal or staple fiber) or the particle with 0.5-1.5mm. The machine
is of simple construction, convenient operation, procedures can be
adjusted at choice, the filter residue can be sufficiently washed,
the solid-phase particles are not easily broken with good adaptability.
Labor intensity has been reduced for its bottom discharge. It is widely
used in the industries of chemicals, light industry, food, pharmacy-manufacturing,
textile, metallurgical etc.. |
 |
|
|
| |
|
|
| |
|
| |
|
|
| |
Adjustable speed motor dries revolving drum to revolve and adjust the
rotating speed to middle speed. Material is added from the top of revolving
drum and spread evenly on the wall of the drum. Liquid phase is discharged
through filter cloth and filter opening in the drum wall by centrifugal
action. Solid phase is left in the drum. Revolving drum revolves at a low
speed and scraper scrapes the solid phase from drum wall and discharge at
the bottom of centrifuge. |
|
| |
 |
|
| |
|
| |
|
|
| |
|
|
| |
|
|
| |
|
|
| |
|
|
| |
|
|
| |
|
|
| |
|
|
| |
 |
|
| |
|
|
| |
|
| |
|
|
| |
|
|
| |
|
|
| |
|
| |
|
|
| |
We have designed corresponding types of machine
for our clients to choose according to different separation requirements.
So the following terms should be confirmed when clients are placing an order:
Material: Stainless steel, titanium alloy, carbon steel
or rubber coating, plastic coating etc.
Driving means: Common asynchronous motor, explicability
separation asynchronous motor, electromagnetic airspeed motor or frequency
control etc.
|
|
| |
|
|