| |
|
|
| |
|
|
| |
|
|
| |
|
| |
|
|
| |
|
| |
|
|
| |
 |
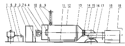
The fuel is burnt at firebox and the high temperature is produced.
The quantity of heat will conduct to air to be heated through heat exchange
device. Through heat exchange, the temperature of air is dropped to less
than 250¡æ and the air will be discharged through fan. The air to be heated
is sent to hot air furnace through distribution blow fan. After absorbed
heat to the rated value, the air will be sent from the vent of hot air.
When the temperature of hot air reaches the rated upper limit, the burner
can stop or turn to small fire automatically. When the temperature of hot
air drops to the rated low limit, the burner can burn or turn to big fire
automatically. |
|
| |
|
|
| |
|
| |
|
|
| |
Industries for using the furnace Metal surface
covering or coating Medicine Food Wood processing Textile, Printing and
dyeing Chemical products Automobile For example high temperature solidification
after plastic spray or paint spray drying the herbal medicine material of
traditional Chinese medicine drying the grain and starch cake baking, convenient
noodle, fine dried noodle drying, transmission belt, type baking machine
wood drying, fibre plate and compound plate drying printing drying, heat
shaping, hot air widening drying the chemical raw materials channel type
baking room. |
|
| |
|
|
| |
 |
|
| |
|
|
| |
|
|
| |
|
|
| |
|
|
| |
|
|
| |
|
|