5.5 Exercises
Solutions to these exercises are supplied in Section B.1.3
Describe Figure 5-14: identify components and nodes,
and describe the relationships among components and nodes.

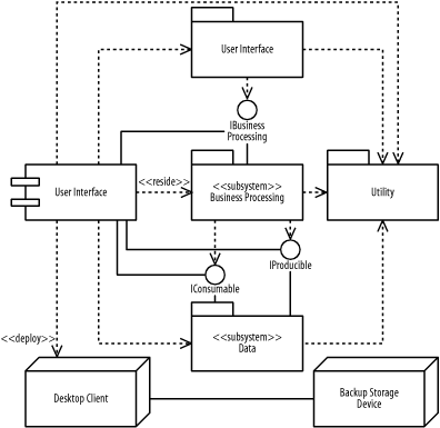
Describe Figure 5-15: identify the various elements
and their relationships.
Update the diagram stepwise to show the following details. After each
step, check your answers against the solutions shown in Appendix B:
The User Interface package uses the
IView and IPrint interfaces
provided by the Reporting subsystem.
The User Interface and Utility
packages resides in a User Interface component.
The Reporting subsystem and
Utility package reside in a
Reporting component.
The User Interface component is deployed on a
Desktop Client node.
The Reporting component is deployed on a
Report Server node.
The Desktop Client node is connected to the
Report Server node, and the Report
Server node is connected to a High-speed
Printer node.
|