A fékrendszer képekben:

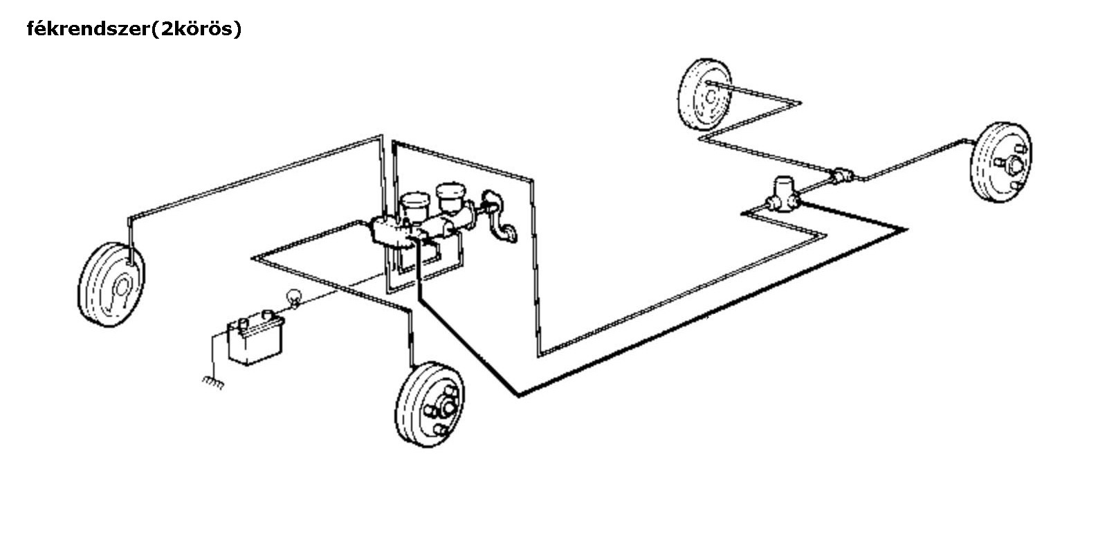
Fékrendszer(2kör) 

Fékrendszer II.

Kézifékkar

Automata állítású fékpofa és szerelvényei

Manuális állítású fékpofa és szerelvényei

Fékero-szabályzó

fékhenger(2körös)

fékhenger(1körös)

Fékmunkahenger