United States Patent
Stephan Barrie Chambers
Patent
No.: US 6,419,815 B1
Date
of Patent: Jul. 16, 2002
Kivonat
Egy apparátus amely orthohidrogent és/ vagy parahidrogént hoz létre. Az orthohydrogen és a parahydrogen két különböző isomerje a hidrogénnek. Az orthohydrogen-nél olyan a molekula szerkezete, hogy az atommagok spinjei párhuzamosak. A parahydrogen-nél viszont a 2 atommag spinje nem párhuzamos. Ez az eltérés eltérő fizikai tulajdonságot kölcsönöz a két változatnak. Például amíg az orthohydrogen erősen robbanékony, addig a parahydrogen lassabban égő formája a hidrogénnek. A berendezés áll egy vizet tároló edényből és legalább egy pár egymáshoz közel helyezett elektródából, melyek a vízkonténeren belül a vízbe belemerülnek. Egy elsődleges tápegység egy különleges elsődleges szignál impulzust küld az elektródákra. Egy tekercset szintén bele lehet helyezni a konténerbe és bemerítve azt a vízbe, ha a parahidrogén képzése szintén szükséges. Egy második tápegység szolgáltat egy második szignál impulzust a tekercsre keresztül egy kapcsolón ráhelyezve az energiát a vízre. Amikor a második tápegység leválasztódik a tekercsről a kapcsoló által és csak az elektródák kapják a pulzáló jelet, akkor létrejöhet az orthohydrogen. Amikor a második tápegység rácsatlakozik a tekercsre és mind a tekercs mind az elektródák kapják az impulzusokat, ekkor az elsődleges és a másodlagos impulzus jelekkel lehet kontrolálni a parahydrogen képzését. A konténer magától nyomás alá kerül, és a konténeren belül lévő vízhez nem szükséges semmilyen kémia katalizátor amely növelné a hatékonyságát az ortho és/vagy a parahidrogén előállításának. Hő az nem generálódik, és buborékok sem képződnek az elektródákon.
A berendezés tehát hatalmas mennyiségű hidrogént és oxigént állít elő relatíve rövid idő alatt mérsékelt energia bevitel mellett és hőképződés nélkül.










|
Othohidrogén és/vagy parahidrogén előállító módszer A találmány technikai háttere A találmány összegzése
|
|
2 Egy másik célja ezen találmánynak
a hidrogén és oxigén buborékok képzése,
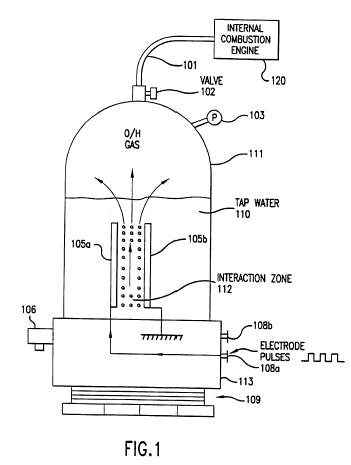
melyek nem torlódnak fel körben sem pedig az elektródákon. AZ ÁBRÁK RÖVID ISMERTETÉSE Fig.1. Ez egy olyan cella képe, amivel
ortohidrogént lehet előállítani, amely tartalmaz
egy pár elektródát megtestesítve a találmány
első verzióját. |
US 6,419,815 B1
|
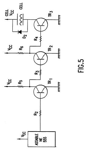
3 Fig.4c ábra egy háromszög
hullámot mutat melyet az ötös ábrán
(Fig.5.) lévő áramkör hozhat létre, és
amelyet az elektródákon (Fig.1-3) alkalmazunk.
|
|
4 a felhasználó berendezés lehet bármilyen
olyan eszköz, amely hidrogént és oxigént
használ, beleértve lengődugattyús motort,
vagy egy gázturbinás motort, egy tűzhelyet, egy fűtőtestet,
egy kazánt, egy desztillációs berendezést,
egy víztisztító berendezést, egy hidrogén
oxigén gázsugarat, vagy más a gázokat
használó berendezést. Tehát bármely
berendezés használja is fel a gázt az folyamatosan
fog működni anélkül, hogy tárolni kellene
a veszélyes hidrogén és oxigén gázokat. |
US 6,419,815 B1
|
5 Így csak csapvízre van szükség
a hidrogén és az oxigén előállításához
ennél a találmánynál.
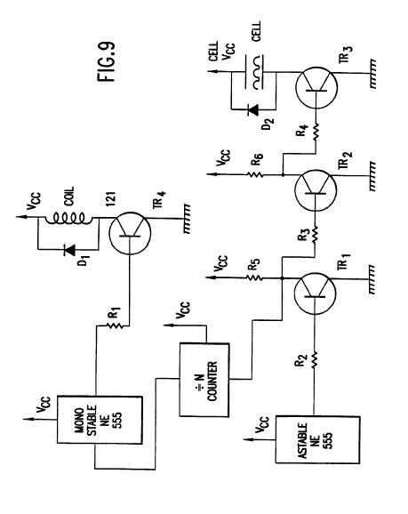
Az astabil áramkör kimenete kapcsolódik a TR1 tranzisztor bázisához az R2 ellenálláson keresztül. A TR1 tranzisztor kollektora kapcsolódik a tápfeszhez az R5 ellenálláson keresztül és a TR2 bázisához az R3 ellenálláson kersztül. A TR2 kollektora az R6 ellenálláson keresztül kapcsokódik a tápfeszhez, és a T3 bázisához R4-en keresztül. A kollektora kapcsolódik az egyik elektródára és a D2 diódára. A tranzisztorok (TR1, TR2, TR3) emmiterei a földhöz vannak kapcsolva. Az R5 és az R6 mint a TR1 és a TR2 kollektorainak terheléseiként szolgálnak külön-külön. A cella mint a TR3 tranzisztor kollektorának terheléseként szerepel. Az R2,R3,R4 biztosítják, hogy a TR1, Tr2, TR3 tranzisztorok telítettek legyenek. A D2 dioda védelmi szerepet játszik bármilyen cella irányából érkező indukált feszültség ellen.
|
|
6 Az astabil áramkör generálja
az impulzus sorozatokat egy speciális időnél és
speciális jel/szünet arány mellett. Ez az impulzus
sorozat kerül azután a Tr1 tranzisztor bázisára
az R2 ellenálláson keresztül. A Tr1 tranzisztor
úgy működik, mint egy inverz kapcsoló. Így,
amikor az astabil ic egy impulzust produkál, akkor a TR1
bázis felmegy magas értékre (azaz záródik
a VCC-re, vagy logikai 1-re). Ennél fogva a feszültség
szintje a tranzisztor kollektorának lemegy alacsony szintre
(azaz a földhöz záródik, vagy logikai 0).
Tr2 tranzisztor szintén inverz módon működik.
Amikor a TR1 kollektor feszültsége lemegy, akkor a Tr2
bázisfeszültsége is alacsony lesz, és
a TR2 tranzisztor kikapcsol. Ennél fogva Tr2 kollektora és
a T3 bázis feszültsége felmegy magas értékre.
Ezáltal a T3 tranzisztora az astabil áramkör
jel/szünet aránya szerint fog működni. Amikor a
Tr3 tranzisztor bekapcsolt állapotban van, akkor a
cella egyik elektródájára rákerül
a Vcc, és a másik a Tr3-on keresztül a földhöz
kapcsolódik. Így a Tr3 tranzisztort lehet ki/be kapcsolgatni
és ezáltal a Tr3 effektíve úgy működik,
mint a cellák elektródáinak tápkapcsolója.
|
US 6,419,815 B1
|
7 A parahidrogén nem annyira tűzveszélyes,
mint az ortohidrogén és ennél fogva lassabban
égő formája a hidrogénnek. Így ha parahidrogént
állítunk elő a cellával, akkor a parahidrogént
össze lehet kapcsolni egy hordozható eszközzel
mint egy tűzhely vagy kazánnal vagy energia forrása
lehet egy lassú lángú hőforrásnak.
Az osztó bemenete rácsatlakozik
a TR1 tranzisztor kollektorára. Az osztó kimenete
a monostabil áramkörre és a mnostabil kimenete
a TR4 tranzisztor bázisára csatlakozik az R1 ellenálláson
keresztül. A TR4 kollektora csatlakozik a tekercs egyik végére
és a D1 diódára. A tekercs és a d1 dióda
másik vége a tápegység Vcc-re kapcsolódik.
Az R1 ellenállás biztosítja, hogy a Tr4 teljesen
telítődjön. A D2 dióda védi meg a visszafelé indukált
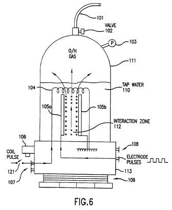
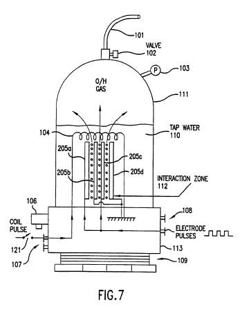
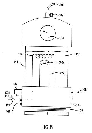
feszültségtől az áramkört. A Figs. 6-8 ábrák
tartalmaznak még egy kapcsolót 121, melyet a felhasználó
ha zár akkor parahidrogén is képződik, és
ha nyit akkor csak ortohidrogén és oxigén termelődik.
A
magas/alacsony kapcsolgatása a TR1 kollektor feszültségnek
szolgáltat impulzust az osztó felé. Az osztó
N elemű impulzus után (N pozitív egész) ad
le egy jelet a kimenetén. Ez a szignál a trigger jele
a monostabil ármkörnek. A monostabil áramkör
visszaadja azt az impulzus hosszúságot, amely alkalmas
az időzítés szempontjából. Az output
szignál a monostabil áramkörről a Tr4 tranzisztor
bázisára jut az R1 ellenálláson keresztül
kapcsolgatva a TR4 tranzisztort be/ki. |
|
8
* * * * * Fordította: Tuvok 2003.10.07.
|
||||||||||
|
|
|
|