 |
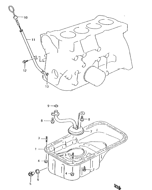
| 1 |
11510-71C01 |
PAN oil |
1 |
| 2 |
09117-06061 |
BOLl (6xl2) |
16 |
| 3 |
01411-06123 |
STUD BOLT |
2 |
| 4 |
09159-06077 |
NUT |
2 |
| 5 |
09247-14027 |
PLUG |
1 |
| 6 |
09168-14015 |
GASKET |
1 |
| 7 |
16520-63B00 |
STRAINER oIl pump |
1 |
| 8 |
01550-06123 |
BOLT |
2 |
| 9 |
09280-14011 |
0 RING |
1 |
| 1O |
16910-60E01 |
GAUGE oil level |
1 |
| 11 |
16930-82001 |
GUIDE oil level gauge |
1 |
| 12 |
09103-06168 |
BOLT |
1 |
| 13 |
09280-10016 |
0 RING |
1 |
|