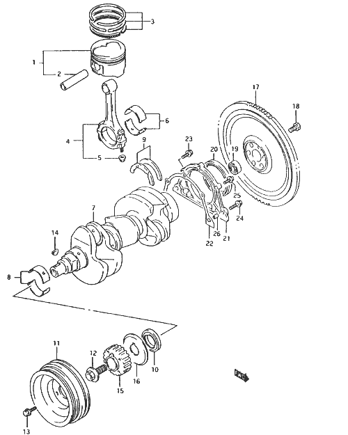
19.Fõtengely,dugattyu,csapágyak SF310
FõmenüVissza az elejéreVisszaElõreJelmagyarázat
1-1 12100-61811-0A0 PISTON SET (STD MARK 1) 3  
1-2 12100-61811-0B0 PISTON SET (STD MARK 2) 3  
1-3 12100-61811-025 PISTON SET (OS:0.25) 3  
1-4 12100-61811-050 PISTON SET (OS:0.50) 3  
2 12151-82000 PIN piston 3  
3-1 12140-63E50 RING SET piston (STD) 3  
3-2 12140-63E50-025 RING SEt piston (0S:0.25) 3  
3-3 12140-63E50-050 RING SET piston (OS:0.5) 3  
4 12160-86002 ROD ASSY connecting 3  
5 09159-08033 RUT 6  
6-1 12100-82810 BEARING SET conrod 3 (STD: T:1.5)
6-2 12100-82810-025 BEARING SEI conrod 3 (US:0.25 T:1.625)
7 12221-86000 CRANKSHAFT 1  
8-1 12340-82000-0A0 BEARiNG SET crankshaft 4 (STD T:2 Green)
8-2 12340-82000-0B0 BEARING SET crankshaft 4 (STD T:2 BLack)
8-3 12340-82000-0C0 BEARING SET crankshaft 4 (STD T:2 Non Collor)
8-4 12340-82000-0D0 BEARING SET crankshaFt 4 (STD T:2 YeLLow)
8-5 12340-82000-0E0 BEARING SET crankshaft 4 (STD T:2 BLue)
8-6 12300-82810-0AA BEARING SET crankshaft 4 (US:0.25 T:2.125 Red/Green)
8-7 12300-82810-0BA BEARiNG SET crankshaft 4 (US:O.25 T:2.125 Red/BLack)
8-8 12300-82810-0CA BEARING SET crankshaFt 4 (US:0.25 T:2.125 Red)
8-9 12300-82810-0DA BEARING SET crankshaft 4 (US:0.25 T:2.125 Red/YelIow)
8-10 12300-82810-0EA BEARING SET crankshaft 4 (US:O.25 T:2.125 Red/BLue)
9-1 12300-82820 BEARING SET crank thrust 4 (STD T :2.5)
9-2 12300-82820-012 BEARING SET crank thrust 4 (OS:0.125 T :2.563)
10 09283-32042 OIL SEAL 1  
11 12611-50G00 PULLEY crankshaft 1  
12 12619-53B01 BOLT crank pulley 1  
13 09103-06185 BOLT (6x20) 5  
14 08341-31059 KEY 1  
15 12631-72F00 PULLEY crank timing belt 1  
16 12635-78401 GUIDE timing belt 1  
17 12620-60B01 FLYWHEEL 1 MT
18 09100-10275 BOLT (10x18.5) 6 MT
19 12623-60A00 BEARING input shaFt 1 MT
20 09283-68002 OIL SEAL 1  
21 11341-82000 HOUSING oil seal 1  
22 11349-60A01 GASKET oil seal housing 1  
23 01550-06203 BOLT 2  
24 01550-06253 BOLT 2  
25 09103-06130 BOLT (6x20) 1  
26 04211-09109 PIN 2