22.Vezérmütengely,szelepek SF310
FõmenüVissza az elejéreVisszaElõreJelmagyarázat
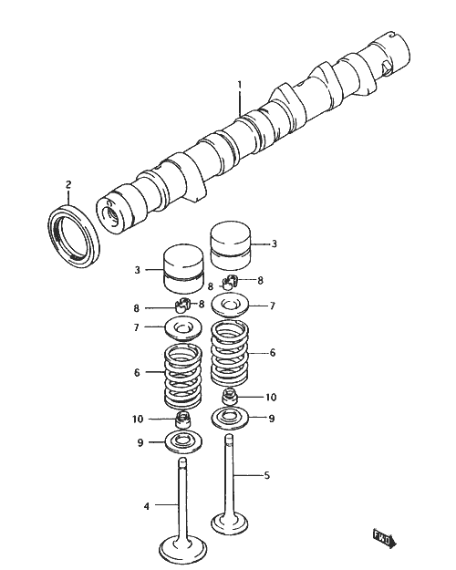
1 12711-60B02 CAMSHAFT 1
2 09283-32042 OIL SEAL 1
3 12891-86512 ADJUSTER HYDR valve 6
4 12911-60B20 VALVE intake 3
5 12915-60B70 VALVE exhaust 3
6 12921-60B12 SPRING valve 6
7 12931-60B00 RETAINER valve spring 6
8 12932-24400 COTTER valve 12
9 12933-86510 SEAT valve sprIng 6
10 09289-05012 SEAL valve stein 6